山西阳高县“市场主体倍增”造假属实!记者调查发现更多问题
近日,总台中国之声独家报道了山西省大同市阳高县在落实“市场主体倍增”计划过程中,存在严重造假现象,村支书无奈办理了20张营业执照。
报道播出后,阳高县委、县政府组织行政审批、市场监管等部门开展联合调查。经初步核查,阳高县在工作中确实存在造假情况。
为完成上级“市场主体倍增”要求
村支书四处“拉人头”
此前,大同市阳高县的基层工作人员向中国之声反映,从2022年开始,当地几乎每个月都有新增市场主体数量的考核,县里派给乡镇,乡镇再派给村里。村支书只能找亲朋好友完成登记注册,甚至把多个经营主体都注册在了自己名下。
基层干部:本来注册是自然人的自愿行为,但注册量少,要完成“市场主体倍增”的数量任务,县里给乡镇、街道摊派,合作社办理多少个,公司办理多少个,每个月都有任务。乡镇没法只能给村里摊派,村支书只好找人注册没有实际营运的执照,这个月刚办完,下个月任务又来了。每个月都要通报,完不成挨批评。

△层层加码摊派任务 (受访者提供)
记者查询到,一位村支书名下注册了23家市场主体,只有3家是2022年前实际运营的合作社,其余20家有个体工商户、合作社及公司,涉及鞋店、服装店、水果店、货运队、养殖场、水产店、鲜花店、建材厂,两家便利店及一家美甲店。

△某村支书名下的部分经营主体
阳高县回应:确实存在造假情况
报道播出后,阳高县回应称:县委、县政府推进市场主体培育工作落实不到位,重安排部署、轻管理指导,对一些干部“工作方法简单粗放,把市场主体培育发展简单理解为注册即培育、入库即发展”等误读曲解、执行偏差的问题,发现不及时、纠偏不够。
阳高县委宣传部部长杨小民表示,阳高县委县政府第一时间组织行政审批、市场监管、统计、纪检、宣传等部门开展联合调查。经初步核查,阳高县在推进市场主体培育工作中确实存在造假情况。全县将以此为戒,在全县范围内立即开展市场主体“大起底”,对排查出的非正常市场主体依法公示注销。同时,对市场主体培育工作中出现弄虚作假现象继续深入调查。
记者深入调查发现大同其他县区
也存在“市场主体倍增”异常情况
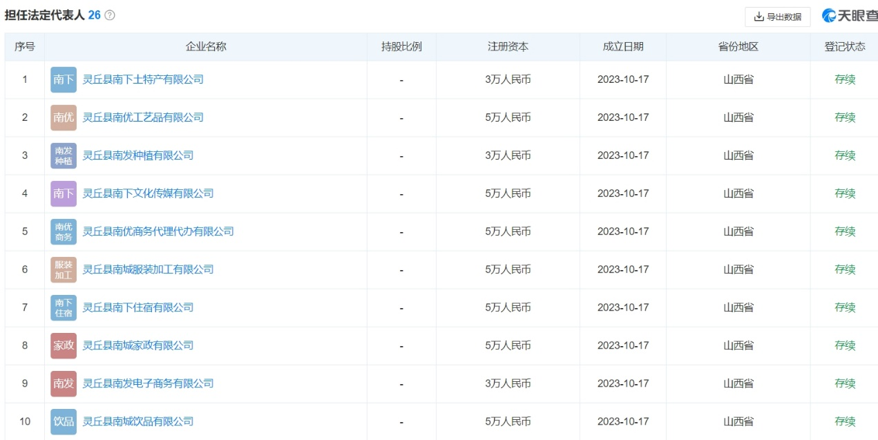
实际上,除了阳高县之外,记者通过天眼查查询大同市其他县区的市场主体注册信息时也发现了一些异常情况。有人从2022年7月开始,在同一地址注册了25家市场主体,其中有12家便利店;有人在同一天、同一地址注册了14家有限公司,涉及土特产、工艺品、电子商务、家政等行业;143家市场主体使用同一个手机号注册,注册时间集中在2022年5月6日至2023年5月16日等。这些市场主体都在实际经营吗?



△2022年后注册25家市场主体,其中12家便利店。



△1-14号企业为2023年10月17日一天注册,2022年后,同一人注册了24家市场主体,其名下26家中,只有2家是此前注册的。

△143家市场主体同一手机号注册
我们愿意看到老百姓通过办企业做生意真正富起来,也希望地方政府顺应时势,通过优化行政审批服务,完善财税金融服务,维护市场公平竞争,让市场真正繁荣。


川公网安备 51019002008035号
