74岁刘晓庆被举报,涉嫌偷税!曾因税务问题被刑拘422天
近日,知名演员刘晓庆被深圳市民王先生实名举报涉嫌偷税漏税,上海市税务局第四稽查局已受理并启动调查。
据大河报,王先生的举报内容显示,刘晓庆通过名下小微企业上海弈熙文化传媒中心,以“形象代言费”名义将330万元借款转为个人收入,并开具6%税点的增值税发票规避27%以上的个人所得税。该企业被指无实际经营场地、员工和社保缴纳记录,涉嫌虚开发票逃税。

相关话题冲上微博热搜第一,引发公众对刘晓庆历史税务问题的关注。

2002年,刘晓庆曾因公司偷税漏税上千万元被羁押422天,其妹夫靖军作为公司法人被判刑,刘晓庆本人因证据不足未被起诉。此后,她通过变卖资产补缴税款,并重新回归公众视野。但此次举报提及刘晓庆在上海有过多次补税罚款记录,被指属于“多次违法”。

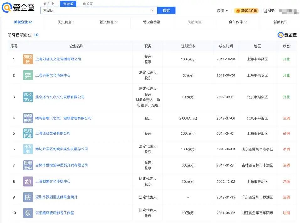
爱企查App显示,刘晓庆名下关联10余家企业,涉及文化传播、贸易、实业等领域,其中超半数已注销或吊销,开业企业包括上海刘晓庆文化传播有限公司、上海弈熙文化传媒中心、北京沐兮文心文化发展有限公司等。在上述为开业状态的企业中,刘晓庆担任法定代表人、财务负责人、监事等职务。
上述被检举单位上海弈熙文化传媒中心成立于2017年6月,注册资本3万元人民币,经营范围包括文化艺术活动交流与策划、会务服务、礼仪服务、摄像服务、创意服务等,为刘晓庆个人独资企业。
此外,风险信息显示,由刘晓庆持股50%的上海刘晓庆文化传播有限公司曾因“合同纠纷”被多次起诉。



公开资料显示,刘晓庆,1950年10月30日出生于重庆市涪陵区,毕业于四川音乐学院附属中学。中国内地女演员,一级演员。


川公网安备 51019002008035号
